PART 3    

Major General William Starke Rosecrans

 

Cincinnati, Ohio

The Wheel of Life Makes Interesting Turns

I do not think the choice of Cincinnati for Rosecrans'  next career was a random selection. Eliakim Parker Scammon graduated from West Point in 1837 and stayed on as a professor of mathematics. He may have taught Rosecrans and would surly have been impressed by a self taught mathematician. Rosecrans probably worked under Scammon when he was "Cadet Professor" of Mathematics.  Scammon was one of the first appointed to the Corps of Engineers - Rosecrans was also appointed.

William S.
Rosecrans
     Eliakin P.
     Scammon

The two men continued to turn in the same direction.  Scammon converted to Roman Catholicism in 1846 (was he also a Rosecrans convert?). After his military career, he retired in 1854 to teach math in Mount St. Mary’s College in Cincinnati. 

To add another spoke to the wheel, Father Sylvester Rosecrans (William’s brother) was ordained in Rome in 1852 and after touring through Italy, France, England, and Ireland, Father Rosecrans was sent to the Archdiocese of Cincinnati and was appointed pastor of St. Thomas Church. He was then assigned as a curate at St. Peter in Chains Cathedral and a professor at Mount St. Mary's Seminary of the West. He became president of the college in 1856. It is likely the William came to be near his brother and Scammon to be near William. 

However it happened, Father Sylvester and Eliakim were teaching at Mount St. Mary's.  Following Chickamauga, William's family was living next door to the seminary in a stone house, called "Roccabella", which had been the convent.  It had a very pretty old fashioned garden and a large grape arbor, a raspberry patch and numerous walks with roses, hollyhocks, marigolds and lilies. 

Mt. St. Mary's on Price Hill

A quiet lane ran by the house with another road led about a quarter of a mile to Mt. St Mary's Seminary where Sylvester was president.
Price Hill Historical Society says the home at 2935 Lehman Road  in Price Hill is where General Rosecrans stayed.  Is this Roccabella?

Let the wheel spin and return to the Rosecrans story - - - -
           

Architect, Consulting Engineer

Twenty days after leaving the army, a new daughter, Lily Elizabeth, joined the family in Cincinnati on the 21 of April 1854.

Although still not recovered from exhaustion, William worked as an architect and consulting engineer until June 1855 when an agent from Cannel River Coal Company, an English and American company, invited him to take charge  of the company's mining interests on Coal River, Kanawha County, Virginia. The known seams had been mined out


Stock

and the company wanted to know if there was more there.  Fitch says William examined the existing mines and reported on their condition.  Then he made a geological survey of the country and did a series of scientific explorations so he was able  to point out with marvelous certainty the localities where new and profitable coal deposits could be opened.  He submitted the result of the survey and plans for development to the company.

Transporting the coal from the mines was a problem.  Rosecrans and William Madison Peyton designed a series of locks (actually log and beam sluices) on the Kanawha River to transport the coal. In 1856 Rosecrans was made president of the Coal River Slack-Water Navigation Company. A flood washed the locks out and they had to be rebuilt. By the second time they were flooded  out petroleum products had Rosecrans attention.

At least some of this time the family lived in Wheeling where Anna Dolores (sometimes called Anita) was born.

The New Coal River-Slack Water Navigation Company hired a practical engineer to devise plans for making coal oil.  The results were positive for making the coal oil but it required a large outlay of money to start so the company decided not to go that route.

                          Inventor

Rosecrans decided to engage in the business himself.   In 1857 he organized the Preston Coal Company for that purpose.  With a partner who  claimed to know how to make coal oil, Rosecrans began erecting a structure.  Before it was done, he met two others interested in buying into the business.  They expanded it so they would be able to make 500 gallons a day.  It was obvious the first man did not know how to make the coal oil so Rosecrans began his own experiments.  In Cincinnati's 1858 Williams Directory, the Rosecrans family lived at 385 George Street and he is listed as a coal manufacturer.   He is the only manufacturer of coal oil in the Directory and his business was at 423 W. 2nd Street. 


By 1860, Rosecrans has four listings in the Williams Directory: one for his home on George Street, one for the Rosecrans and Co., manuf. of Coal Oil on 413 W. 2nd Street, one for Western Coal Oil Co., also known as Rosecrans & CO., on the south side of 2nd between Rose and Hill, and Wm. Rosecrans, factor, at 423 W. 7th.  The 1861 map link will show you where these are located.  Nothing in the code of the directory lists 'factor'.  Was this his lab or was he an agent for someone else??
 

1861 Map

Unfortunately kerosene was not a stable compound and fires frequently were the result of using it. William was determined to perfect the product so it would be safe.   For 16 days he worked on developing pure and odorless oil. When he was about to succeed in his  efforts,  one of the ‘safety’ glass lamps he purchased exploded and  badly  burned  him.   After  putting  out the fire, William  walked home to 385 George Street and spent the next 18 months in bed recovering. The explosion left him scarred on the right side of his face so photographs show him turned so the scars do not show.

As soon as he was able, he returned to his business.  Although his partners were honorable men they were not chemists, so the business was not successful. William worked hard to get it  in good working order.  Fitch says Rosecrans believes he was the first to obtain a good article of odorless oil from petroleum,  Directing his efforts to the chemical composition of soaps, he made some valuable discoveries, among which was finding of a cheap and sure process of manufacturing a soap with chlorine properties. He experimented in the construction of lamps and with the shape of wicks, developing a round tightly woven wick which burned longer and with less smoke than earlier wicks.  He invented a lamp which could successfully use a shorter chimney.

 

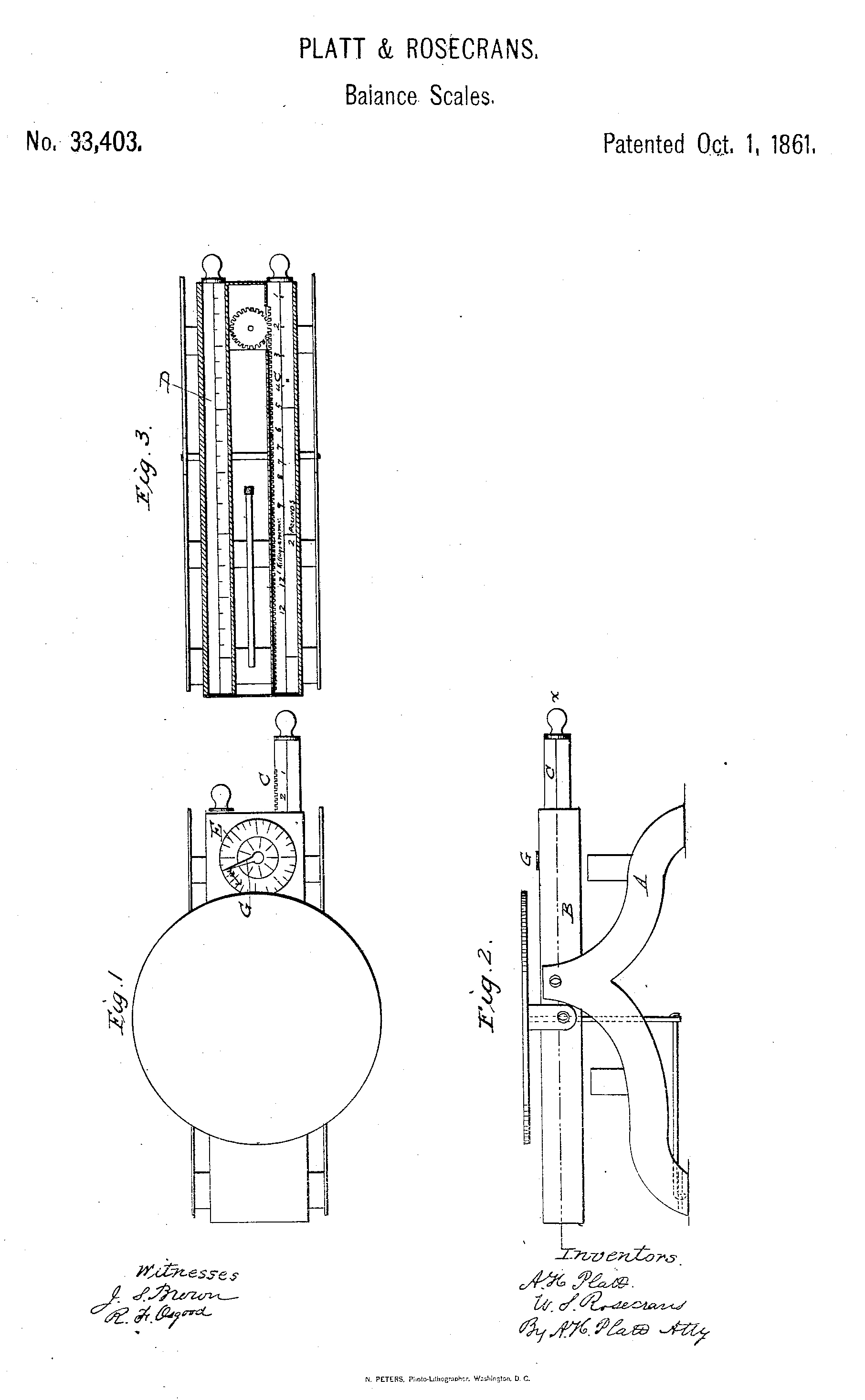
Two of the few patents issued to Rosecrans came through at the onset of the war.  However the inventions were made before and the Patents applied for before the war.  Anson H. Platt and William S. Rosecrans got Patent #33402 for an Lamp Wick Raiser which improved oil lamps issued on October 1, 1861.  On the same date they got  Patent #33,403  issued on October 1, 1861, for An Improved Scale and Weighing Apparatus Ann E. Rosecrans witnessed both patent applications.

Rosecrans went to war and Anson H. Platt  moved to Yellow Springs, Ohio, where he got three other Patents. 
 
An article in The Engineer, published November 21, 1862, contained an article about the lamp invention headed

Invention of Anson Platt and General William Rosecrans
(a General in  the Federal Army) both residents of Cincinnati, Ohio.

In  the June 24, 1864 edition of The Engineer, there was article about the Rosecrans and Platts Balances or Weighing  Machines.


Howe noted, "During all these years of his early career he exhibited, in the limited fields open to him, those characteristics of original conception, inventive genius, restless activity and tireless energy which were  ever afterwards to carry him through a career of wonderful success at the head of great armies and enroll his name amongst those of the most brilliant soldiers known to military history."

During this time the national scene was heating up with threats of secession from the southern states.  Like his father before him, William began to train the local home militia.  He organized and drilled the Marion Rifles which was the Company from the 14th ward in Cincinnati. 

In 1861, son Carl Frederick was born in Cincinnati.

           
Return to Rosecrans,  Part 1,  Genealogy and Youth
Return to Rosecrans,  Part 2,  West Point, Marriage, Engineers Corps

Return to Rosecrans,  Part 3,  Civilian Inventor, Engineer
Return to Rosecrans,  Part 4,  Civil War
Return to Rosecrans   Part 5,  Post Civil War Civilian
 

Goto        Rosecrans Part 6:  Equestrian Statue of
                                                 William S. Rosecrans
                                                on his horse Boney
t
o
             Bibliography


Site Navigation Guide: 

      
The source is blue,  learn more is in italics
     
 Click on photos to enlarge. 
       Use BACK to return to this page

© by Polly Horn for Big Walnut Area Historical Society
 

 

(05/19/2015